一、夾具的要求
1.為保持工件在本工序中所有需要完成的待加工面充分暴露在外,夾具要做得盡可能開敞,因此夾緊機構元件與加工面之間應保持一定的安全距離,同時要求夾緊機構元件能低則低,以防止夾具與加工中心主軸套筒或刀套、刃具在加工過程中發生碰撞。
2.為保持零件安裝方位與機床坐標系及編程坐標系方向的一致性,夾具應能保證在機床上實現定向安裝,還要求能協調零件定位面與機床之間保持一定的坐標聯系。
3.夾具的剛性與穩定性要好。盡量不采用在加工過程中更換夾緊點的設計,當非要在加工過程中更換夾緊點不可時,要特別注意不能因更換夾緊點而破壞夾具或工件定位精度。
二、常用夾具種類
(1)萬能組合夾具 適合于小批量生產或研制時的中、小型工件在數控加工中心上進行銑削加工。
(2)專用銑削夾具 這是特別為某一項或類似的幾項工件設計制造的夾具,一般在年產量較大或研制時非要不可時采用。
(3)多工位夾具 可以同時裝夾多個工件,可減少換刀次數,也便于一面加工,一面裝卸工件,有利于縮短輔助時間,提高生產率,較適宜于中批量生產。
(4)氣動或液壓夾具 適用于生產批量較大,采用其他夾具又特別費工、費力的工件,能減輕工人勞動強度和提高生產率,但此類夾具結構較復雜,造價往往較高,而且制造周期較長。
(5)通用銑削夾具 一次安裝工件,同時可從四面加工坯料。
三、數控銑削夾具的選用原則
在選用夾具時,通常需要考慮產品的生產批量、生產效率、質量保證及經濟性,選用時可參照下列原則:

(1)在生產量小或研制時,應廣泛采用萬能組合夾具,只有在組合夾具無法解決工件裝夾時才考慮采用其他夾具。
(2)小批量或成批生產時可考慮采用專用夾具,但應盡量簡單。
(3)在生產批量較大時可考慮采用多工位夾具和氣動、液壓夾具。
四、工件的安裝
(一)用機用平口鉗安裝工件
機用平口鉗適用于中小尺寸和形狀規則的工件安裝,它是一種通用夾具,一般有非旋轉式和旋轉式兩種,前者剛性較好,后者底座上有一刻度盤,能夠把平口鉗轉成任意角度。安裝平口鉗時必須先將底面和工作臺面擦干凈,利用百分表校正鉗口,使鉗口與橫向或縱向工作臺方向平行,以保證銑削的加工精度,如圖右所示。數控加工中心上加工的零件多數為半成品,利用平口鉗裝夾的工件尺寸一般不超過鉗口的寬度,所加工的部位不得與鉗口發生干涉。平口鉗安裝好后,把工件放入鉗口內,并在工件的下面墊上比工件窄、厚度適當且要求較高的等高墊塊,然后把工件夾緊。為了使工件緊密地靠在墊塊上,應用銅錘或木錘輕輕的敲擊工件,直到用手不能輕易推動等高墊塊時,最后再將工件夾緊在平口鉗內。工件應當緊固在鉗口比較中間的位置,裝夾高度以銑削尺寸高出鉗口平面 3~5mm 為宜,用平口鉗裝夾表面粗糙度較差的工件時,應在兩鉗口與工件表面之間墊一層銅皮,以免損壞鉗口,并能增加接觸面。下圖所示為使用機用平口鉗裝夾工件的幾種情況。

(a)正確的安裝

(b)錯誤的安裝
機用平口鉗的使用
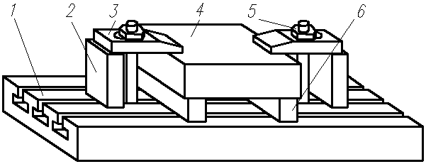
(二)用組合壓板安裝工件
對于體積較大的工件大都用組合壓板來裝夾,根據圖紙的加工要求,可將工件直接壓在工作臺面上,圖a所示,這種裝夾方法不能進行貫通的挖槽或鉆孔加工等;也可在工件下面墊上厚度適當且要求較高的等高墊塊后再將其壓緊,圖b所示,這種裝夾方法可進行貫通的挖槽或鉆孔加工。

(a) (b)
組合壓板安裝工件的方法
1-工作臺 2-支承塊 3-壓板 4-工件 5-雙頭螺柱 6-等高墊塊
使用壓板時應注意以下幾點:
1.必須將工作臺面和工件底面擦干凈,不能拖拉粗糙的鑄件、鍛件等,以免劃傷臺面。在工件的光潔表面或材料硬度較低的表面與壓板之間,必須安置墊片(如銅片或厚紙片),這樣可以避免表面因受壓力而損傷。
2.壓板的位置要安排得妥當,要壓在工件剛性最好的地方,不得與刀具發生干涉,夾緊力的大小也要適當,不然會產生變形。
3.支撐壓板的支承塊高度要與工件相同或略高于工件,壓板螺栓必須盡量靠近工件,并且螺栓到工件的距離應小于螺栓到支承塊的距離,以便增大壓緊力。螺母必須擰緊,否則將會因壓力不夠而使工件移動,以致損壞工件、機床和刀具,甚至發生意外事故。
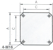
(三)用精密治具板安裝工件
HT系列 HL系列

HC系列

HP系列 HM系列

HH系列
精密治具板的各種系列
精密治具板具有較高的平面度、平行度及表面粗糙度,工件或模具可通過尺寸大小選擇不同的型號或系列,如圖所示。有些工件或大型模具在裝夾后必須同時完成整個表面、外形、型腔及孔的加工才能保證其精度要求時,采用HP、HH、HM系列精密治具板安裝,裝夾前必須在工件底平面合適的位置加工出深度適宜的工藝螺釘孔(在加工模具時,其工藝螺釘孔位置應考慮到今后模具安裝時能被利用掉),利用內六角螺釘將工件鎖緊在精密治具板上(在加工貫通的型腔及通孔時,必須在工件與精密治具板之間合適的位置放入等高墊塊),然后再將精密治具板安裝在工作臺面上。一些工件在使用組合壓板裝夾,工作臺面上的T形槽不能滿足安裝要求時,采用HT、HL、HC系列精密治具板安裝,利用組合壓板將工件裝夾在精密治具板上,然后再將精密治具板安裝在工作臺面上,這類系列的精密治具板還適用于零件尺寸較小時的多件一次性裝夾加工。
(四)用精密治具筒安裝工件
在加工表面相互垂直度要求較高的工件時,多采用精密治具筒安裝工件。精密治具筒具有較高的平面度、垂直度、平行度及表面粗糙度,如圖所示。

BJB系列 HJC系列 HIB系列
精密治具筒的各種系列
(五)用其它裝置安裝工件
1.用萬能分度頭安裝
分度頭是加工中心常用的重要附件,能使工件繞分度頭主軸軸線回轉一定角度,在一次裝夾中完成等分或不等分零件的分度工作,如加工四方、六角等。
2.用三爪卡盤安裝
將三爪卡盤利用壓板安裝在工作臺面上,可裝夾圓柱形零件。在批量加工圓柱工件端面時,裝夾快捷方便,例如銑削端面凸輪、不規則槽等。
(六)用專用夾具安裝工件
為了保證工件的加工質量,提高生產率,減輕勞動強度,根據工件的形狀和加工方式可采用專用夾具安裝。
近年來,為了解決專用夾具的專用性和產品品種的多變性之間的矛盾,按“積木”的方法而設想發展了組合夾具。它是由各種不同形狀、規格、尺寸的標準件,根據被加工件形狀和工序要求,裝配成各種夾具。用完之后,便可拆開、清洗,再重新組裝成其它夾具。
五、工件的校正
1.工件的校正
工件利用上述任一方法安裝后必須進行找正(在安裝時首先應目測工件,使其大致與坐標軸平行),找正一般用百分表或杠桿表與磁性表座配合使用來完成。根據找正需要,可將表座吸在機床主軸、導軌面或工作臺面上,百分表安裝在表座接桿上,使測頭軸線與測量基準面相垂直,測頭與測量面接觸后,指針轉動2mm左右,移動機床工作臺,校正被測量面相對于X、Y或Z軸方向的平行度或平面度。使用杠桿表校正時杠桿測頭與測量面間成約15°的夾角,測頭與測量面接觸后,指針轉動0.5mm左右。百分表與杠桿表的安裝與使用如圖所示。
(a)百分表的安裝 (b)百分表的使用

(c)杠桿表的安裝 (d)杠桿表的使用
百分表與杠桿表的安裝與使用
利用平口鉗裝夾的工件,必須先校正平口鉗固定鉗口與工作臺某一移動方向的平行度與垂直度,工件裝夾后,還需校驗工件上表面與工作臺的平行度。組合壓板、精密治具板(筒)等方法裝夾的工件均需找正工件側面與某一移動軸的平行度后再夾緊。
2024-11
本文以組合式六角亭模型為實例,分析工藝難點與加工可行性,指出該模型的加工難點是模型形狀不規則和整體剛性差,并通過設計新的工藝方案解決加工難點,完成了模型整體的加工。新的加工工藝有助于提高加工效率和精度,為五軸數控加工提供了一個典型案例,對于五軸加工中心數控加工也具有指導作用和重要… [了解更多]
2024-11
宇匠數控 備注:為保證文章的完整度,本文核心內容由PDF格式顯示,如未有顯示請刷新或轉換瀏覽器嘗試,手機瀏覽可能無法正常使用!本文摘要:通過對混聯五軸加工中心自適應深度學習控制方法的 研 究,可 知 此 方 法 的 創 新 之 處 在 于:1)建 立 了 機 床 的 運 動 學 … [了解更多]
2024-11
在機測量技術由于其成本低、檢測效率高、無需二次裝夾等優勢被廣泛用于零件加工測量當中,使得五軸加工中心和五軸鉆攻中心,同時又兼具測量功能。在機測量系統的構成如圖1所示,硬件部分主要是由高精度探頭、信號接收器、機床整個本體,軟件部分由機床控制系統、測量軟件等組成[8]。待零件加工完成… [了解更多]
2024-11
?加工精度是影響機床性能和產品質量的主要難題,也是制約國家精密制造能力的重要因素。本文以五軸加工中心為對象,針對提升機床精度進行了研究。并且隨著科技的發展,精密的儀器和零件在生產實踐中占據的分量逐漸增加,在數控機床這種精密機器精度不斷提高的同時,必須控制內外界環境的隨機影響因素在… [了解更多]